HOW TO ORDER
THE SIZE, LENGTH AND TYPE OF HOSE TO BE HANDLED ARE PRIMARY FACTORS IN SELECTING THE PROPER REEL FOR YOUR JOB. THE FOLLOWING POINTS SHOULD BE CONSIDERED:
-
HOSE I.D., O.D. & LENGTH
When space permits, select a reel with greater hose capacity than you require. This allows you to rewind the hose with less care and keeps the hose well protected within the disc dimension, even if the hose is not wound in uniform coils. (See hose selection chart below)
-
SIZE & TYPE OF SWIVEL JOINT & SEAL FOR INLET & OUTLET
In selecting your reel please note the size of you hose versus the inlet and outlet sizes. Reducing your fitting & hose size will allow for more hose capacity.
-
RETRACTION METHOD & PROPER USE
Choose from Spring Driven, Hand Crank or Motor Driven retraction.
SPRING DRIVEN: Automatic rewind requiring no power source. Operator is to guid the hose or cord as it self-tretracts and wraps around the drum. For models to be mounted 15 feet above the floor, consult factory & specify on P.O.'s for proper spring retraction motor.
HAND CRANK: Operator must manually crank the reel and guide the hose or cord evenly as it wraps around the drum to reach full capacity.
MOTOR DRIVEN: Requires a power source to operate in AC, DC, Air or Hydraulic power. On/Off switches and speed controllers are available to help control retraction speedl. You must guide the hose or cord efficiently back on the reel to reach full capacity.
-
MOUNTING POSITION
Determine which mountin position you require. All reels are shipped in the floor-ceiling mount (F) position with the exception of the "T," "EN," and "SD" Series, which are shipped in the wall-truck mount (W) position. See diagram to the right for the "SP & DP" Series as well.
-
CHOOSE TYPE OF HOSE
Consider temperature, product type and pressure required (PSI).
Always use good quality hose rated for the service and operating pressure required. Poor quality hose tends to expand and contract under pressure surges. When this happens, hose remaining on the reel may bind and become difficult to handle. In extreme cases, poor quality hose may expand under pressure to the extent that the reel becomes distorted and inoperable.
-
ADDITIONAL OPTIONS
Customize your reel to meet your exact requirements.
Once you select your reel type consider the different add-on features such as roller brackets, special mountin brackets, carry handles or a cart for portability. See the options available indicated on each page.
For general info or questions: info@coxreels.com
For technical assistance: techassist@coxreels.com
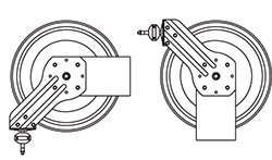
HOSE SELECTION
The drawing below shows two reels with different shapes and dimensions but with identical hose capacity. In most cases, more than one reel will handle the size and length of hose you need, so you can specify a reel to fit your space requirements.
BASIC INFORMATION
The diagram below indicates the basic information which should be determined before ordering.
MOUNTING POSITIONS
The diagram below indicates the basic information which should be determined before ordering.
All Models with the exception of the SP & DP Series
![]()
![]()
"F" Floor-Ceiling Mount
All reels are shipped in this position unless specified with the
exception of the T, EN, SD,
SP, &DP Series.
"W" Wall-Truck Mount
T, EN, & SD Series are shipped in this position unless specified.
![]()
"B" & "D" Mount -- Bottom-Truck Mount & Down Mount.
SP & DP Series
![]()
![]()
![]()
Standard Mount - Drag
All SP & DP Series are
shipped in this position
unless specified."BXIX" - Ceiling Mount
(Lift, Stretch,
or Recovery)
"BXCX" Wall Mount
(Lift)
![]()
![]()
![]()
![]()
DRAG
With Roller Guide
LIFT
With Roller Guide
STRETCH
With or Without Roller
Guide. Special Spring
Motor Required.RECOVER
With or Without Roller
Guide. Special Spring
Motor Required.
Contact Us
Have questions? We are here for you. Please feel free to get in touch with us using the tabs and forms below to contact us and request more information about COXREELS® products and services. We will handle your inquiries and will get back to you as soon as we can.Contact Us
Find Distributors
Distributor information will be provided through your preferred method of contact. Click here to submit a request that will be routed to the appropriate distributor.Find a Distributor













Tempe, AZ 85283
Phone: 800-269-7335
Fax: 800-229-7335